简介
spinal.lib.misc.pipeline提供了一套流水线API。相对于手动流水线它的主要优点是:
您不必预先准备好整个流水系统中所需的所有信号元素。您可以根据设计需要,以更特别的方式创建和使用可分级的信号,而无需重构所有中间阶段来处理信号
流水线的信号可以利用SpinalHDL的强大参数化能力,并且如果设计构建中不需要特定的参数化特征,则可以进行优化/移除,而不需要以显著的方式修改流水系统设计或项目代码库。
手动时序调整要容易得多,因为您不必手动处理寄存器/仲裁器
它会自行管理仲裁器
API由4个主要部分组成:
Node:表示管道中的层
Link:允许节点相互连接
Builder:生成整个管道所需的硬件
Payload:用于获取流水线的节点上的硬件信号
重要的是,Payload不是硬件数据/信号实例,而是用于检索流水线在节点中数据/信号的关键,并且流水线构建器随后将在节点之间的每次给定Payload出现时自动互连/流水线。
以下是一个用于阐述的例子:
以下是关于此API的视频:
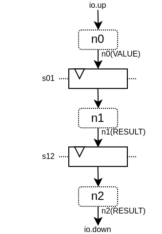
简单示例
下面是一个简单的例子,它只使用了基本的API:
import spinal.core._
import spinal.core.sim._
import spinal.lib._
import spinal.lib.misc.pipeline._
class TopLevel extends Component {
val io = new Bundle{
val up = slave Stream (UInt(16 bits))
val down = master Stream (UInt(16 bits))
}
// Let's define 3 Nodes for our pipeline
val n0, n1, n2 = Node()
// Let's connect those nodes by using simples registers
val s01 = StageLink(n0, n1)
val s12 = StageLink(n1, n2)
// Let's define a few Payload things that can go through the pipeline
val VALUE = Payload(UInt(16 bits))
val RESULT = Payload(UInt(16 bits))
// Let's bind io.up to n0
io.up.ready := n0.ready
n0.valid := io.up.valid
n0(VALUE) := io.up.payload
// Let's do some processing on n1
n1(RESULT) := n1(VALUE) + 0x1200
// Let's bind n2 to io.down
n2.ready := io.down.ready
io.down.valid := n2.valid
io.down.payload := n2(RESULT)
// Let's ask the builder to generate all the required hardware
Builder(s01, s12)
}
这将产生以下硬件:
下面是一个仿真波形:
下面是相同的示例,但使用了更多的API:
import spinal.core._
import spinal.core.sim._
import spinal.lib._
import spinal.lib.misc.pipeline._
class TopLevel extends Component {
val VALUE = Payload(UInt(16 bits))
val io = new Bundle{
val up = slave Stream(VALUE) //VALUE can also be used as a HardType
val down = master Stream(VALUE)
}
// NodesBuilder will be used to register all the nodes created, connect them via stages and generate the hardware
val builder = new NodesBuilder()
// Let's define a Node which connect from io.up
val n0 = new builder.Node{
arbitrateFrom(io.up)
VALUE := io.up.payload
}
// Let's define a Node which do some processing
val n1 = new builder.Node{
val RESULT = insert(VALUE + 0x1200)
}
// Let's define a Node which connect to io.down
val n2 = new builder.Node {
arbitrateTo(io.down)
io.down.payload := n1.RESULT
}
// Let's connect those nodes by using registers stages and generate the related hardware
builder.genStagedPipeline()
}
Payload
Payload对象用于引用可以通过流水线的数据。从技术上讲,Payload是一个HardType,它有一个名字,并被用作在流水线某个级中检索信号的“键”。
val PC = Payload(UInt(32 bits))
val PC_PLUS_4 = Payload(UInt(32 bits))
val n0, n1 = Node()
val s01 = StageLink(n0, n1)
n0(PC) := 0x42
n1(PC_PLUS_4) := n1(PC) + 4
请注意,我习惯于使用大写对Payload实例命名。这是为了让它非常明确,这不是一个硬件信号,更像是一个“键/类型”访问的东西。
Node
Node主要托管有效/就绪仲裁信号,以及所有通过它的硬件信号所需的Payload。
您可以通过以下方式访问其仲裁器:
API |
访问 |
描述 |
|---|---|---|
node.valid |
RW |
指定节点上是否存在事务的信号。它是由上游逻辑驱动的。一旦置为1,则它必须且仅能在valid和ready同时置位或node.cancel为高的周期后解除置位。valid不依赖于ready。 |
node.ready |
RW |
指定节点的事务是否可以向下游进行的信号。它是由下游驱动以创建反压。当没有事务(node.valid被置0)时,该信号无意义 |
node.cancel |
RW |
指定节点的事务是否正在从流水线中取消的信号。它由下游驱动。当没有事务时(node.valid被置0),该信号没有意义 |
node.isValid |
RO |
node.valid的只读访问器 |
node.isReady |
RO |
node.ready的只读访问器 |
node.isCancel |
RO |
node.cancel的只读访问器 |
node.isFiring |
RO |
当节点事务成功继续进行时为True(valid && ready && !cancel)。用于提交状态更改。 |
node.isMoving |
RO |
当节点事务将不再存在于节点上时(从下一周期开始)为True,要么是因为下游准备好接收事务,要么是因为事务已从流水线中取消。(valid && (ready || cancel))用于“复位”(reset)状态。 |
node.isCanceling |
RO |
当节点事务正在被取消时为True。这意味着在将来的周期中它不会出现在流水线中的任何地方。 |
请注意,node.valid/node.ready信号遵循与 Stream 中相同的规范。
Node的控制信号(valid/ready/cancel)和状态信号(isValid、isReady、isCancel、isFiring等)是按需创建的。因此,例如,您可以通过永远不引用ready信号来创建没有反压的流水线。这就是在想要读取某物的状态时使用状态信号,仅在想要驱动某物时使用控制信号的重要性所在。
以下是节点上可能出现的仲裁情况列表。valid/ready/cancel定义了我们所处的状态,而isFiring/isMoving是这些状态的结果:
valid |
ready |
cancel |
描述 |
isFiring |
isMoving |
|---|---|---|---|---|---|
0 |
X |
X |
无事务 |
0 |
0 |
1 |
1 |
0 |
正在进行 |
1 |
1 |
1 |
0 |
0 |
阻塞 |
0 |
0 |
1 |
X |
1 |
取消 |
0 |
1 |
请注意,如果您想要建模诸如CPU级可能的阻塞和刷新的情况,可以查看 CtrlLink,因为它提供了执行此类操作的 API。
您可以通过以下方式访问由Payload引用的信号:
API |
描述 |
|---|---|
node(Payload) |
返回对应的硬件信号 |
node(Payload, Any) |
与上述相同,但包括一个用作“次要键”的第二个参数。这有助于构建多通道硬件。例如,当您有一个多发射CPU流水线时,您可以使用通道Int id作为次要键 |
node.insert(Data) |
返回一个新的Payload实例,该实例连接到给定的Data硬件信号 |
val n0, n1 = Node()
val PC = Payload(UInt(32 bits))
n0(PC) := 0x42
n0(PC, "true") := 0x42
n0(PC, 0x666) := 0xEE
val SOMETHING = n0.insert(myHardwareSignal) //This create a new Payload
when(n1(SOMETHING) === 0xFFAA){ ... }
虽然您可以手动驱动/读取流水线的第一个/最后一级的仲裁/数据,但有一些实用工具可以连接其边界。
API |
描述 |
|---|---|
node.arbitrateFrom(Stream[T]]) |
由反压流驱动节点仲裁。 |
node.arbitrateFrom(Flow[T]]) |
由数据流驱动节点仲裁。 |
node.arbitrateTo(Stream[T]]) |
由节点驱动反压流仲裁。 |
node.arbitrateTo(Flow[T]]) |
由节点驱动数据流仲裁。 |
node.driveFrom(Stream[T]])((Node, T) => Unit) |
由反压流驱动节点。提供的lambda函数可以用于连接数据 |
node.driveFrom(Flow[T]])((Node, T) => Unit) |
与上述类似,但适用于Flow |
node.driveTo(Stream[T]])((T, Node) => Unit) |
由节点驱动反压流。提供的lambda函数可以用于连接数据 |
node.driveTo(Flow[T]])((T, Node) => Unit) |
与上述类似,但适用于Flow |
val n0, n1, n2 = Node()
val IN = Payload(UInt(16 bits))
val OUT = Payload(UInt(16 bits))
n1(OUT) := n1(IN) + 0x42
// Define the input / output stream that will be later connected to the pipeline
val up = slave Stream(UInt(16 bits))
val down = master Stream(UInt(16 bits)) //Note master Stream(OUT) is good aswell
n0.driveFrom(up)((self, payload) => self(IN) := payload)
n2.driveTo(down)((payload, self) => payload := self(OUT))
为了减少冗长,在Payload与其数据表示之间有一组隐式转换,可在Node下使用:
val VALUE = Payload(UInt(16 bits))
val n1 = new Node{
val PLUS_ONE = insert(VALUE + 1) // VALUE is implicitly converted into its n1(VALUE) representation
}
您还可以通过导入它们来使用这些隐式转换:
val VALUE = Payload(UInt(16 bits))
val n1 = Node()
val n1Stuff = new Area {
import n1._
val PLUS_ONE = insert(VALUE) + 1 // Equivalent to n1.insert(n1(VALUE)) + 1
}
还有一个API,它允许你创建新的Area,这个Area提供了给定节点实例的全部API(包括隐式转换),而无需导入:
val n1 = Node()
val VALUE = Payload(UInt(16 bits))
val n1Stuff = new n1.Area{
val PLUS_ONE = insert(VALUE) + 1 // Equivalent to n1.insert(n1(VALUE)) + 1
}
当硬件具有可参数化的流水线位置时,这样的功能非常有用(请参阅重定时示例)。
Links
目前已经实现了一些不同的Links(但您也可以创建自己的自定义Links)。Links的思想是以各种方式将两个节点连接在一起,它们通常有一个 up 节点和一个 down 节点。
DirectLink
非常简单,它只使用导线连接两个节点。以下是一个示例:
val c01 = DirectLink(n0, n1)
StageLink
这使用data/valid信号上的寄存器和ready信号上的一些仲裁连接了两个节点。
val c01 = StageLink(n0, n1)
S2mLink
这使用ready信号上的寄存器连接两个节点,这对于改进反压组合时序非常有用。
val c01 = S2mLink(n0, n1)
CtrlLink
这是一种特殊的 Link,用于连接两个节点,具有可选的流量控制/旁路逻辑。它的应用程序接口应该足够灵活,可以用它来实现 CPU 流水级。
以下是其流量控制 API(Bool 参数启用了相关功能):
API |
描述 |
|---|---|
haltWhen(Bool) |
允许阻止当前传输事务(清除 up.ready down.valid) |
throwWhen(Bool) |
允许从流水线中取消当前事务(清除 down.valid,使事务驱动逻辑忘记其当前状态) |
forgetOneWhen(Bool) |
允许请求上游节点忘记其当前事务(但不会清除 down.valid) |
ignoreReadyWhen(Bool) |
允许忽略下游节点ready(设置 up.ready 为1) |
duplicateWhen(Bool) |
允许复制当前传输事务(清零 up.ready) |
terminateWhen(Bool) |
允许下游节点隐藏当前传输事务(清零 down.valid) |
还要注意的是,如果要在条件作用域(例如在 when 语句中)进行通信流控制,可以调用以下函数 :
haltIt(), duplicateIt(), terminateIt(), forgetOneNow(), ignoreReadyNow(), throwIt()
val c01 = CtrlLink(n0, n1)
c01.haltWhen(something) // Explicit halt request
when(somethingElse){
c01.haltIt() // Conditional scope sensitive halt request, same as c01.haltWhen(somethingElse)
}
您可以使用 node.up / node.down 查看哪些节点连接到了链接。
CtrlLink 还提供了访问Payload的 API:
API |
描述 |
|---|---|
link(Payload) |
与 Link.down(Payload) 相同 |
link(Payload, Any) |
与 Link.down(Payload, Any) 相同 |
link.insert(Data) |
与 Link.down.insert(Data) 相同 |
link.bypass(Payload) |
允许在 link.up -> link.down 之间有条件地覆盖 Payload 值。例如,这可用于修复 CPU 流水线中的数据冲突。 |
val c01 = CtrlLink(n0, n1)
val PC = Payload(UInt(32 bits))
c01(PC) := 0x42
c01(PC, 0x666) := 0xEE
val DATA = Payload(UInt(32 bits))
// Let's say Data is inserted in the pipeline before c01
when(hazard){
c01.bypass(DATA) := fixedValue
}
// c01(DATA) and below will get the hazard patch
请注意,如果创建的 CtrlLink 不带节点参数,它将在内部创建自己的节点。
val decode = CtrlLink()
val execute = CtrlLink()
val d2e = StageLink(decode.down, execute.up)
其他链接
此外,还实现了 JoinLink / ForkLink。
您的自定义链接
您可以通过实现 Link 基类来实现自定义链接。
trait Link extends Area{
def ups : Seq[Node]
def downs : Seq[Node]
def propagateDown(): Unit
def propagateUp(): Unit
def build() : Unit
}
不过,由于 API 还很新,后面可能会有一些变化。
Builder
要生成流水线硬件,您需要提供流水线中使用的所有链接列表。
// Let's define 3 Nodes for our pipeline
val n0, n1, n2 = Node()
// Let's connect those nodes by using simples registers
val s01 = StageLink(n0, n1)
val s12 = StageLink(n1, n2)
// Let's ask the builder to generate all the required hardware
Builder(s01, s12)
此外,还有一套 “一体化 “的构建工具,您可以利用它来帮助你自己。
例如,有一个 NodesBuilder 类,可用于创建按顺序分级的流水线:
val builder = new NodesBuilder()
// Let's define a few nodes
val n0, n1, n2 = new builder.Node
// Let's connect those nodes by using registers and generate the related hardware
builder.genStagedPipeline()
组合能力(Composability)
该API的一个优点是,它可以轻松地将多个并行事物组成一个流水线。这里的 “组成 “是指有时你设计的流水线需要进行并行处理。
试想一下,如果您需要对 4 对数字进行浮点乘法运算(稍后求和)。并且这 4 对数字是由一个数据流同时提供的,那么就不需要 4 条不同的流水线来进行乘法运算,而需要在同一条流水线上并行处理。
下面的示例展示了一种模式,它将多个通道组成一个流水线,来并行处理它们。
// This area allows to take a input value and do +1 +1 +1 over 3 stages.
// I know that's useless, but let's pretend that instead it does a multiplication between two numbers over 3 stages (for FMax reasons)
class Plus3(INPUT: Payload[UInt], stage1: Node, stage2: Node, stage3: Node) extends Area {
val ONE = stage1.insert(stage1(INPUT) + 1)
val TWO = stage2.insert(stage2(ONE) + 1)
val THREE = stage3.insert(stage3(TWO) + 1)
}
// Let's define a component which takes a stream as input,
// which carries 'lanesCount' values that we want to process in parallel
// and put the result on an output stream
class TopLevel(lanesCount : Int) extends Component {
val io = new Bundle{
val up = slave Stream(Vec.fill(lanesCount)(UInt(16 bits)))
val down = master Stream(Vec.fill(lanesCount)(UInt(16 bits)))
}
// Let's define 3 Nodes for our pipeline
val n0, n1, n2 = Node()
// Let's connect those nodes by using simples registers
val s01 = StageLink(n0, n1)
val s12 = StageLink(n1, n2)
// Let's bind io.up to n0
n0.arbitrateFrom(io.up)
val LANES_INPUT = io.up.payload.map(n0.insert(_))
// Let's use our "reusable" Plus3 area to generate each processing lane
val lanes = for(i <- 0 until lanesCount) yield new Plus3(LANES_INPUT(i), n0, n1, n2)
// Let's bind n2 to io.down
n2.arbitrateTo(io.down)
for(i <- 0 until lanesCount) io.down.payload(i) := n2(lanes(i).THREE)
// Let's ask the builder to generate all the required hardware
Builder(s01, s12)
}
这将产生以下数据路径(假设 lanesCount = 2),仲裁器没有显示:
重定时/可变长度
有时,你想设计一个流水线,但你并不真正知道关键路径在哪里,也不知道各阶段之间如何平衡。而且通常情况下,你无法依赖综合工具做好自动重定时工作。
因此,你需要一种简单的方法来构建流水线逻辑。
下面介绍如何使用此流水线 API:
// Define a component which will take a input stream of RGB value
// Process (~(R + G + B)) * 0xEE
// And provide that result into an output stream
class RgbToSomething(addAt : Int,
invAt : Int,
mulAt : Int,
resultAt : Int) extends Component {
val io = new Bundle {
val up = slave Stream(spinal.lib.graphic.Rgb(8, 8, 8))
val down = master Stream (UInt(16 bits))
}
// Let's define the Nodes for our pipeline
val nodes = Array.fill(resultAt+1)(Node())
// Let's specify which node will be used for what part of the pipeline
val insertNode = nodes(0)
val addNode = nodes(addAt)
val invNode = nodes(invAt)
val mulNode = nodes(mulAt)
val resultNode = nodes(resultAt)
// Define the hardware which will feed the io.up stream into the pipeline
val inserter = new insertNode.Area {
arbitrateFrom(io.up)
val RGB = insert(io.up.payload)
}
// sum the r g b values of the color
val adder = new addNode.Area {
val SUM = insert(inserter.RGB.r + inserter.RGB.g + inserter.RGB.b)
}
// flip all the bit of the RGB sum
val inverter = new invNode.Area {
val INV = insert(~adder.SUM)
}
// multiply the inverted bits with 0xEE
val multiplier = new mulNode.Area {
val MUL = insert(inverter.INV*0xEE)
}
// Connect the end of the pipeline to the io.down stream
val resulter = new resultNode.Area {
arbitrateTo(io.down)
io.down.payload := multiplier.MUL
}
// Let's connect those nodes sequencialy by using simples registers
val links = for (i <- 0 to resultAt - 1) yield StageLink(nodes(i), nodes(i + 1))
// Let's ask the builder to generate all the required hardware
Builder(links)
}
如果像这样生成该组件:
SpinalVerilog(
new RgbToSomething(
addAt = 0,
invAt = 1,
mulAt = 2,
resultAt = 3
)
)
您将获得由 3 层寄存器(flip flop)分隔的 4 个处理阶段:
请注意,生成的硬件 verilog 还算干净(至少按我的标准来说是这样 :P):
// Generator : SpinalHDL dev git head : 1259510dd72697a4f2c388ad22b269d4d2600df7
// Component : RgbToSomething
// Git hash : 63da021a1cd082d22124888dd6c1e5017d4a37b2
`timescale 1ns/1ps
module RgbToSomething (
input wire io_up_valid,
output wire io_up_ready,
input wire [7:0] io_up_payload_r,
input wire [7:0] io_up_payload_g,
input wire [7:0] io_up_payload_b,
output wire io_down_valid,
input wire io_down_ready,
output wire [15:0] io_down_payload,
input wire clk,
input wire reset
);
wire [7:0] _zz_nodes_0_adder_SUM;
reg [15:0] nodes_3_multiplier_MUL;
wire [15:0] nodes_2_multiplier_MUL;
reg [7:0] nodes_2_inverter_INV;
wire [7:0] nodes_1_inverter_INV;
reg [7:0] nodes_1_adder_SUM;
wire [7:0] nodes_0_adder_SUM;
wire [7:0] nodes_0_inserter_RGB_r;
wire [7:0] nodes_0_inserter_RGB_g;
wire [7:0] nodes_0_inserter_RGB_b;
wire nodes_0_valid;
reg nodes_0_ready;
reg nodes_1_valid;
reg nodes_1_ready;
reg nodes_2_valid;
reg nodes_2_ready;
reg nodes_3_valid;
wire nodes_3_ready;
wire when_StageLink_l56;
wire when_StageLink_l56_1;
wire when_StageLink_l56_2;
assign _zz_nodes_0_adder_SUM = (nodes_0_inserter_RGB_r + nodes_0_inserter_RGB_g);
assign nodes_0_valid = io_up_valid;
assign io_up_ready = nodes_0_ready;
assign nodes_0_inserter_RGB_r = io_up_payload_r;
assign nodes_0_inserter_RGB_g = io_up_payload_g;
assign nodes_0_inserter_RGB_b = io_up_payload_b;
assign nodes_0_adder_SUM = (_zz_nodes_0_adder_SUM + nodes_0_inserter_RGB_b);
assign nodes_1_inverter_INV = (~ nodes_1_adder_SUM);
assign nodes_2_multiplier_MUL = (nodes_2_inverter_INV * 8'hee);
assign io_down_valid = nodes_3_valid;
assign nodes_3_ready = io_down_ready;
assign io_down_payload = nodes_3_multiplier_MUL;
always @(*) begin
nodes_0_ready = nodes_1_ready;
if(when_StageLink_l56) begin
nodes_0_ready = 1'b1;
end
end
assign when_StageLink_l56 = (! nodes_1_valid);
always @(*) begin
nodes_1_ready = nodes_2_ready;
if(when_StageLink_l56_1) begin
nodes_1_ready = 1'b1;
end
end
assign when_StageLink_l56_1 = (! nodes_2_valid);
always @(*) begin
nodes_2_ready = nodes_3_ready;
if(when_StageLink_l56_2) begin
nodes_2_ready = 1'b1;
end
end
assign when_StageLink_l56_2 = (! nodes_3_valid);
always @(posedge clk or posedge reset) begin
if(reset) begin
nodes_1_valid <= 1'b0;
nodes_2_valid <= 1'b0;
nodes_3_valid <= 1'b0;
end else begin
if(nodes_0_ready) begin
nodes_1_valid <= nodes_0_valid;
end
if(nodes_1_ready) begin
nodes_2_valid <= nodes_1_valid;
end
if(nodes_2_ready) begin
nodes_3_valid <= nodes_2_valid;
end
end
end
always @(posedge clk) begin
if(nodes_0_ready) begin
nodes_1_adder_SUM <= nodes_0_adder_SUM;
end
if(nodes_1_ready) begin
nodes_2_inverter_INV <= nodes_1_inverter_INV;
end
if(nodes_2_ready) begin
nodes_3_multiplier_MUL <= nodes_2_multiplier_MUL;
end
end
endmodule
此外,您还可以轻松调整处理的级数和位置,例如,您可能希望将翻转的硬件逻辑移到与加法器相同级上。具体方法如下:
SpinalVerilog(
new RgbToSomething(
addAt = 0,
invAt = 0,
mulAt = 1,
resultAt = 2
)
)
那么您可能需要移除输出寄存器级:
SpinalVerilog(
new RgbToSomething(
addAt = 0,
invAt = 0,
mulAt = 1,
resultAt = 1
)
)
这个示例的一个特点是,中间值必须是 addNode。例如:
val addNode = nodes(addAt)
// sum the r g b values of the color
val adder = new addNode.Area {
...
}
遗憾的是,scala 不允许用 new nodes(addAt).Area 替换 new addNode.Area。一种变通方法是将其定义为一个类,比如:
class NodeArea(at : Int) extends NodeMirror(nodes(at))
val adder = new NodeArea(addAt) {
...
}
根据您的管道规模,它可以带来一些好处。
简单的CPU示例
下面是一个简单的 8 位 CPU 示例:
三级流水线(fetch, decode, execute)
嵌入的获取存储器
add / jump / led /delay 指令
class Cpu extends Component {
val fetch, decode, execute = CtrlLink()
val f2d = StageLink(fetch.down, decode.up)
val d2e = StageLink(decode.down, execute.up)
val PC = Payload(UInt(8 bits))
val INSTRUCTION = Payload(Bits(16 bits))
val led = out(Reg(Bits(8 bits))) init(0)
val fetcher = new fetch.Area{
val pcReg = Reg(PC) init (0)
up(PC) := pcReg
up.valid := True
when(up.isFiring) {
pcReg := PC + 1
}
val mem = Mem.fill(256)(INSTRUCTION).simPublic
INSTRUCTION := mem.readAsync(PC)
}
val decoder = new decode.Area{
val opcode = INSTRUCTION(7 downto 0)
val IS_ADD = insert(opcode === 0x1)
val IS_JUMP = insert(opcode === 0x2)
val IS_LED = insert(opcode === 0x3)
val IS_DELAY = insert(opcode === 0x4)
}
val alu = new execute.Area{
val regfile = Reg(UInt(8 bits)) init(0)
val flush = False
for (stage <- List(fetch, decode)) {
stage.throwWhen(flush, usingReady = true)
}
val delayCounter = Reg(UInt(8 bits)) init (0)
when(isValid) {
when(decoder.IS_ADD) {
regfile := regfile + U(INSTRUCTION(15 downto 8))
}
when(decoder.IS_JUMP) {
flush := True
fetcher.pcReg := U(INSTRUCTION(15 downto 8))
}
when(decoder.IS_LED) {
led := B(regfile)
}
when(decoder.IS_DELAY) {
delayCounter := delayCounter + 1
when(delayCounter === U(INSTRUCTION(15 downto 8))) {
delayCounter := 0
} otherwise {
execute.haltIt()
}
}
}
}
Builder(fetch, decode, execute, f2d, d2e)
}
下面是一个简单的测试平台,它实现了一个循环,使 led 计数值上升。
SimConfig.withFstWave.compile(new Cpu).doSim(seed = 2){ dut =>
def nop() = BigInt(0)
def add(value: Int) = BigInt(1 | (value << 8))
def jump(target: Int) = BigInt(2 | (target << 8))
def led() = BigInt(3)
def delay(cycles: Int) = BigInt(4 | (cycles << 8))
val mem = dut.fetcher.mem
mem.setBigInt(0, nop())
mem.setBigInt(1, nop())
mem.setBigInt(2, add(0x1))
mem.setBigInt(3, led())
mem.setBigInt(4, delay(16))
mem.setBigInt(5, jump(0x2))
dut.clockDomain.forkStimulus(10)
dut.clockDomain.waitSampling(100)
}